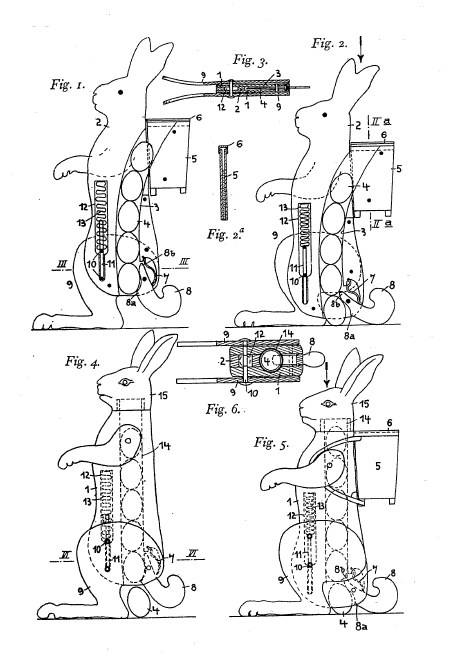
Es ist eine Erfindung des Berliners Johannes Gotthilf Dietrich, der dieses mechanische Spielzeug 1919 patentiert hat. Drückt man den mit Eiern gefüllten Hasen kurzzeitig nach unten, dann wird durch den als Sperre wirkenden Schwanzhebel ein Ei freigegeben.
Hier die vollständige Patentschrift: Deutsches Reichspatent Nr.334339
